一、概述
|
適用于以油、水、氣為介質的管道固定用塑料管夾。工作溫度為-5~+100℃。 A 系列管夾適用于中壓、低壓(PN≤8MPa)管道的固定;B系列管夾及B系列Ⅰ型組合安裝管夾適用于中高壓、高壓(PN≤31.5MPa)管道的固定。 |
![]() |

|
型式
|
管子
外徑 Do |
A
|
A1
|
C
|
H
|
H1
|
h
|
螺栓
|
重量
kg≈ |
型式
|
管子
外徑 Do |
A
|
A1
|
C
|
H
|
H1
|
h
|
螺栓
|
重量
kg≈ |
||
|
d
|
L
|
d
|
L
|
||||||||||||||||||
|
I
|
6
|
28
|
33
|
-
|
32
|
19
|
6
|
M6
|
20
|
0.06
|
II
|
20
|
48
|
53
|
33
|
42
|
24
|
6
|
M6
|
30
|
0.14
|
|
8
|
22
|
||||||||||||||||||||
|
10
|
25
|
||||||||||||||||||||
|
12
|
28
|
70
|
75
|
52
|
64
|
35
|
50
|
0.19
|
|||||||||||||
|
II
|
6
|
34
|
39
|
20
|
0.08
|
30
|
|||||||||||||||
|
8
|
32
|
||||||||||||||||||||
|
10
|
34
|
||||||||||||||||||||
|
12
|
40
|
||||||||||||||||||||
|
14
|
40
|
45
|
26
|
40
|
23
|
25
|
0.12
|
42
|
|||||||||||||
|
16
|
48
|
86
|
91
|
66
|
72
|
39
|
60
|
0.22
|
|||||||||||||
|
18
|
50
|
||||||||||||||||||||
| 注:靜壓油臘潤滑管路,壓力至10MPa,仍可選用A系列管夾。 | |||||||||||||||||||||

|
型式
|
管子
外徑 Do |
A
|
A1
|
B
|
B1
|
C
|
H1
|
H2
|
h
|
s
|
螺紋
|
重量 kg≈
|
||
|
d
|
L
|
I型
|
II型
|
|||||||||||
|
I、
II |
10、12
|
55
|
73
|
30
|
60
|
33
|
48
|
24
|
8
|
2
|
M10
|
45
|
0.3
|
0.6
|
|
14、16
|
||||||||||||||
|
18、20、22
|
70
|
85
|
45
|
64
|
32
|
60
|
0.4
|
0.8
|
||||||
|
25、28
|
||||||||||||||
|
30、32、34
|
84
|
100
|
60
|
76
|
38
|
70
|
0.5
|
1.0
|
||||||
|
40、42
|
||||||||||||||
|
48、50、57
|
115
|
150
|
45
|
90
|
90
|
110
|
55
|
10
|
3
|
M12
|
100
|
1.8
|
3.6
|
|
|
60、63.5
|
||||||||||||||
|
76、89
|
152
|
200
|
60
|
120
|
122
|
140
|
70
|
3.5
|
M16
|
130
|
2.5
|
5.0
|
||
|
102、108
|
205
|
270
|
80
|
160
|
168
|
200
|
100
|
15
|
4.5
|
M20
|
190
|
5.5
|
11
|
|
|
114、127
|
||||||||||||||
|
138、140
|
250
|
310
|
90
|
180
|
205
|
230
|
115
|
M24
|
220
|
8
|
16
|
|||
|
159、168
|
||||||||||||||
| 注:當管路介質壓力較高時,可選用B系列I型和II型,但需縮小相鄰管夾間距。 | ||||||||||||||

|
管子外徑
Do |
10
|
12
|
14
|
16
|
18
|
20
|
22
|
25
|
28
|
32
|
34
|
40
|
42
|
48
|
50
|
57
|
60
|
63.5
|
76
|
89
|
102
|
108
|
114
|
127
|
133
|
140
|
159
|
168
|
|
H3
|
31
|
39
|
45
|
63
|
80
|
113
|
130
|
|||||||||||||||||||||
|
T
|
40
|
56
|
68
|
100
|
130
|
185
|
215
|
|||||||||||||||||||||
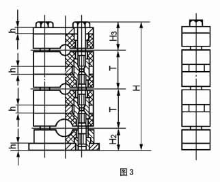
b)尺寸計算 H=H2+H3+(N-1)·T
式中:N ——管子根數:
T ——相鄰管距(見表3),mm;
H2、H3見表2和表3
◎注:組合安裝管夾的每組重量可近似按(N-0.5)乘以表2中的單件重量。
2.1 標記說明
A 系列Ⅰ型、管子外徑為12mm的塑料管夾:
塑料管夾A(Ⅰ)12 JB/ZQ4008-97
B 系列Ⅱ型、管子外徑為28mm 的塑料管夾;
塑料管夾B(Ⅱ)28 JB/ZQ4008-97
B 系列Ⅰ型組合疊裝、管子外徑為22mm的3根、管子外徑為28mm的2根的塑料管夾;
塑料管夾B(Ⅰ)22×3-28×2JB/ZQ4008-97
三、管夾承載能力
(A1,A2 及圖A1,圖A2)
A1 表示方法:管夾承受管子軸向力的能力大小,用曲線圖表示。
A2 具體內容:圖A1 用于“A 系列管夾”;圖A2 用于“B 系列Ⅰ型管夾”。a 曲線表示管夾與管子處于“靜摩擦狀態”時,管子外徑尺寸與管夾承受管子軸向力的函數關系。b曲線表示管夾與管子處于“動摩擦狀態”時,管子外徑尺寸與管夾承受管子軸向力及轉矩的函數關系。

|
四、安裝說明(B1~B3) B1 管夾底板采用焊接法固定在焊接板、鋼梁、軌道上。應注意焊接板、鋼梁、軌道的固定必須牢靠,其所受負荷要保持在允許范圍內(參考圖A1、A2) B2 安裝時,相鄰管夾的間距,應保持在1-3m 的距離。 B3 管路安裝時,在彎管處其弧形部分之后,就應安裝管夾。(見圖B1)。 |
![]() |
啟東林益機械科技有限公司,地處著名的長江三角洲開放城市江蘇省啟東市經濟技術開發區,與上海浦東新區隔江相望,地理位置得天獨厚,交通運輸方便快捷。啟東林益機械科技有限公司是涉及液壓潤滑設備、冶金石化設備、環...